加入购物车成功!
一、仪表简介:
透光式玻璃板液位计可用来直接指示密封容器中的液位高度,具有结构简单,直观可靠,经久耐用等优点,但容器中的介绍须***是与钢、钢纸及石墨压环不起腐蚀作用的。液位计主要由上阀门,下阀门,表体,玻璃板,盖板,排污阀等几大部分组成。经改进,液面计进出口两端可以不再加装其它阀门,即可不停炉拆下中间指示器进行清洗,可在液面计下部增设排污阀,以便能及时冲洗和排污。
二、工作原理:
透光式玻璃板液位计是基于连通器原理设计的,由玻璃板及液位计主体构成的液体通路是经接管用法兰或锥管螺纹与被测容器连接构成连通器,透过玻璃板观察到的液面与容器内的液面相同即液位高度。 液位计两端的针型阀不仅起截止阀的作用,其内部的钢球具有逆止阀的功能,当液位计发生意外破损泄漏时,钢球可在介质压力作用下自动关闭液体通道,防止液体大量外流起到安全保护作用。液位计改变零件的材料或增加一些附属部件即可达到防腐、保温、防霜、照明等功能。
三、应用范围:
透光式玻璃板液位计生产工艺xj****,测试设备齐全,产品结构简单,安装,维修方便,不堵塞,不泄漏,排污性能好。该产品广泛应用于石油,化工,电力,冶金,医药等领域,可直接对各种高,中,低压密封容器或开口贮存罐内的液位进行观测。
四、******优势:
1、液位显示清晰,直观,可以实现汽红液绿的双色显示效果;
2、360°范围内可任意调整可视方向(中,低压型);
3、产品多,类型全,有透光式,反射式,伴热型,防霜型,无盲区型,双色型,防紫外线型,宽液室型,照明型,高温型,高压型及高温高压型等可供选择;
4、密封结构合理,无泄漏;
5、上,下阀门具有快速切断保护装置,安全可靠;
6、带放空堵头及排污阀。
五、性能指标:
1、压力等级:2.5,4.0,6.3,10.0,16.0,20.0,25.0MPa
2、操作温度:-196℃~400℃
3、标准中心距:500,800,1100,1400,1700mm(可根据用户要求制作)
4、标准可视范围:255,550,845,1140,1435mm(可根据用户要求制作)
5、伴热蒸汽压力:≤0.6MPa
6、伴热夹套接口:1/2″NPT内螺纹
7、阀门自动封闭压力:≤0.3MPa
8、连接法兰标准:HG20592~20635-97 DN20(法兰标准,口径,压力及密封面型式可根据用户要求制作)
9、螺纹连接接口:G3/4″外螺纹
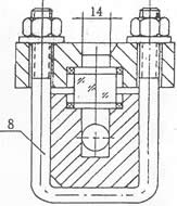
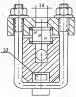
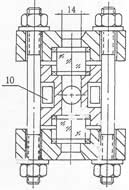
六、外型尺寸图:
1.针型阀 2.本体 3.压盖 4.衬垫 5. 玻璃板 6.螺母 7.垫片 8.U型螺栓 9.螺柱 10.加热夹套
|
|
|
|
七、分类和使用范围:
1、按工作原理可分为:透光式和反射式两种类型,具体使用范围如下:
a、透光式玻璃板液位计主要用于观测不透明的或有颜色液体的液位;
b、反射式玻璃板液位计主要用于观测无色,透明的液体的液位;
2、按操作温度可分为:普通型和高温型两种类型,具体使用范围如下:
a、普通型玻璃板液位计主要用于压力等级小于或等于PN6.4MPa,被测介质的操作温度小于或等于250℃的场合。
b、高温型又可分为:高温低压型,高温中压型和高温高压型,具体使用范围如下:
1)、高温低压型玻璃板液位计主要用于压力等级小于或等于PN4.0MPa,被测介质的操作温度大于250℃且小于等于400℃的场合。
2)、高温中压型玻璃板液位计主要用于压力等级小于或等于PN6.4MPa,被测介质的操作温度大于250℃且小于等于400℃的场合。
3)、高温高压型玻璃板液位计主要用于压力等级小于或等于PN25.0MPa,被测介质的操作温度大于250℃且小于等于400℃的场合。
3、按压力等级可分为:低压型,中压型和高压型三种类型,具体使用范围如下:
a、低压型玻璃板液位计主要用于压力等级小于或等于PN4.0MPa,被测介质的操作温度小于或等于250℃的场合。
b、中压型玻璃板液位计主要用于压力等级小于或等于PN6.4MPa,被测介质的操作温度小于或等于250℃的场合。
c、高压型玻璃板液位计主要用于压力等级小于或等于PN25.0MPa,被测介质的操作温度小于或等于250℃的场合。
















